Ваш город:
Глазов
Ваш город Глазов?
Да Выбрать другой
Заказать звонок
Фильтр

Планетарный мотор редуктор ЗМПз-31,5

Описание

Описание товара временно отсутствует

Характеристики

Технические характеристики 3МП-31,5

Номинальная частота вращения выходного вала, об/ минНоминальный крутящий момент на выходном валу, Н·мПередаточное отношение редукторной частиМасса, кг, не болееДвигатель
ТипМощность, кВт
3,55 155 408,14 19,1 MS561-4 0,06
5,6 145 251,17 19,1 MS562-4 0,09
7,1 115 408,14 19,1 MS561-2 0,09
9 120 163,26 20,1 MS562-2 0,12
12,5 130 212,2 20 MS631-2 0,18
16 140 169,8 20,5 MS632-2 0,25
18 130 41,6 26 MS802-8 0,25
22,4 105 31,9 26 MS802-8 0,25
28 120 31,9 25 MS801-6 0,37
35,5 145 41,6 26 MS801-4 0,55
45 115 31,9 26 MS801-4 0,55
56 130 26 27 MS802-4 0,75
71 145 41,6 26 MS802-2 1,1
90 115 31,9 26 MS802-2 1,1
112 125 7,84 37 MS100L-6 1,5
140 145 10,2 38 MS100L1-4 2,2
180 115 7,84 38 MS100L1-4 2,2
280 135 10,2 44 MS112M-2 4
365 80 7,84 37 MS100L-2 3

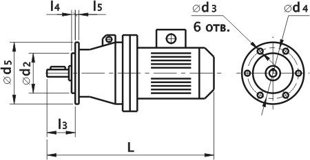
Габаритные и присоединительные размеры

Исполнение на лапах

Мотор редуктор планетарный ЗМП-31.5. Исполнение на лапах

Фланцевое исполнение

Мотор редуктор планетарный ЗМП-31.5. Фланцевое исполнение

Частота вращения
выходного вала, об/мин
LBHll1l2l3l4l5dd1d2d3d4d5bb1b2hh1h2tН1
не более
3,55 ... 16 430 190 215 60 82 130 70 4 12 28j6 15 130h6 12 155 180 8h9 155 190 100 7 15 31 0
18 ... 90 505 190 225
112 ... 280 590 250 275 25

Выходной вал

Выходной вал мотор-редуктора 3МП-31.5

Монтажное исполнение

Монтажное исполнение 3МП-31.5

Характеристики

Похожие товары
Планетарный мотор редуктор 3МПз-63

Мотор-редуктор 3МП-63 (ЗМП-63) выпускается с одной, двумя и тремя ступенями. Агрегат включает в себя планетарный редуктор и электродвигатель Able мощностью до 15 кВт. Также возможна комплектация двигателями Siemens.

Мотор редукторы характеризуются высоким КПД (до 98%), точностью работы, надежностью.

Пример условного обозначения при заказе

Мотор-редуктор 3МП–63–56–510–110УЗ, 380 В

  • 3МП - тип мотор–редуктора
  • 63 - типоразмер (радиус расположения сателлитов в мм)
  • 56 - номинальная частота вращения выходного вала, об/мин
  • 510 - допускаемый крутящий момент на выходном валу Н•м
  • G110 - исполнение по способу монтажа
  • У3 - климатическое исполнение по ГОСТ 15150-69
  • 380 - напряжение сети
по запросу
Подробнее
Планетарный мотор редуктор ЗМПз-40

Мотор-редуктор 3МП-40 — один из наиболее доступных приводов с планетарной передачей из представленных на рынке. Данное оборудование обеспечивает высокую точность передачи крутящего момента. Мощность агрегата ЗМП-40 варьируется в диапазоне от 0,12 до 7,5 кВт.

Пример условного обозначения при заказе

Мотор-редуктор 3МП–40–45–225–120УЗ, 380 В

  • 3МП - тип мотор–редуктора
  • 40 - типоразмер (радиус расположения сателлитов в мм)
  • 45 - номинальная частота вращения выходного вала, об/мин
  • 225 - допускаемый крутящий момент на выходном валу Н•м
  • G120 - исполнение по способу монтажа
  • У3 - климатическое исполнение по ГОСТ 15150-69
  • 380 - напряжение сети
по запросу
Подробнее
Планетарный мотор редуктор 3МПз-50

Мотор-редуктор 3МП-50 (ЗМП-50) выпускается с одной, двумя и тремя ступенями. Агрегат включает в себя планетарный редуктор и электродвигатель Able мощностью до 15 кВт. Также возможна комплектация двигателями Siemens.

Мотор редукторы характеризуются высоким КПД (до 98%), точностью работы, надежностью.

Пример условного обозначения при заказе

Мотор-редуктор 3МП–50–56–510–110УЗ, 380 В

  • 3МП - тип мотор–редуктора
  • 50 - типоразмер (радиус расположения сателлитов в мм)
  • 56 - номинальная частота вращения выходного вала, об/мин
  • 510 - допускаемый крутящий момент на выходном валу Н•м
  • G110 - исполнение по способу монтажа
  • У3 - климатическое исполнение по ГОСТ 15150-69
  • 380 - напряжение сети
по запросу
Подробнее
Назад
Выбор города